Список файлов
Перейти к навигации
Перейти к поиску
Эта служебная страница показывает все загруженные файлы.
| Дата | Имя файла | Миниатюра | Размер | Участник | Описание | Версий |
|---|---|---|---|---|---|---|
| 12:49, 23 августа 2016 | Лодочные моторы Haswing.jpg (файл) | 10 Кб | Admin | MsUpload | 1 | |
| 12:22, 23 августа 2016 | Лодочные моторы Magnus.gif (файл) | 5 Кб | Admin | MsUpload | 1 | |
| 11:58, 23 августа 2016 | Лодочные моторы SAIL.jpg (файл) | 8 Кб | Admin | MsUpload | 1 | |
| 10:29, 23 августа 2016 | Лодочные моторы Troll.jpg (файл) | 24 Кб | Admin | MsUpload | 1 | |
| 09:59, 23 августа 2016 | Лодочные моторы Jet Force.JPG (файл) | 8 Кб | Admin | MsUpload | 1 | |
| 13:18, 22 августа 2016 | Лодочные моторы HANGKAI.png (файл) | 73 Кб | Admin | MsUpload | 1 | |
| 11:57, 22 августа 2016 | Лодочные моторы Sailor.jpg (файл) | 101 Кб | Admin | MsUpload | 1 | |
| 11:40, 22 августа 2016 | Лодочные моторы DFX Pro.png (файл) | 49 Кб | Admin | MsUpload | 1 | |
| 20:10, 19 августа 2016 | Лодочные моторы Baltmotors.jpg (файл) | 24 Кб | Admin | MsUpload | 1 | |
| 19:44, 19 августа 2016 | Лодочные моторы FLOVER.jpg (файл) | 41 Кб | Admin | MsUpload | 1 | |
| 18:59, 19 августа 2016 | Лодочные моторы Nexus.png (файл) | 46 Кб | Admin | MsUpload | 1 | |
| 18:03, 18 августа 2016 | Лодочные моторы Seanovo.jpg (файл) | 34 Кб | Admin | MsUpload | 1 | |
| 15:30, 18 августа 2016 | Лодочные моторы Парус.jpg (файл) | 30 Кб | Admin | MsUpload | 1 | |
| 14:51, 18 августа 2016 | Лодочные моторы GLADIATOR.jpg (файл) | 17 Кб | Admin | MsUpload | 1 | |
| 13:20, 18 августа 2016 | Лодочные моторы Powertec.png (файл) | 144 Кб | Admin | MsUpload | 1 | |
| 12:43, 18 августа 2016 | Лодочные моторы ZONGSHEN.jpg (файл) | 194 Кб | Admin | MsUpload | 1 | |
| 12:16, 18 августа 2016 | Лодочные моторы Yamabisi.jpg (файл) | 140 Кб | Admin | MsUpload | 1 | |
| 11:49, 18 августа 2016 | Лодочные моторы SEA-PRO.jpg (файл) | 22 Кб | Admin | MsUpload | 1 | |
| 11:31, 18 августа 2016 | Лодочные моторы Minn Kota.jpg (файл) | 103 Кб | Admin | MsUpload | 1 | |
| 09:41, 18 августа 2016 | Лодочные моторы WATERSNAKE.jpg (файл) | 126 Кб | Admin | MsUpload | 1 | |
| 09:20, 18 августа 2016 | Лодочные моторы MTR Marine.png (файл) | 414 Кб | Admin | MsUpload | 1 | |
| 15:19, 17 августа 2016 | Лодочные моторы MotorGuide.jpg (файл) | 38 Кб | Admin | MsUpload | 1 | |
| 18:51, 12 августа 2016 | Лодочные моторы Marlin.jpg (файл) | 58 Кб | Admin | MsUpload | 1 | |
| 17:32, 12 августа 2016 | Лодочные моторы Hidea.jpg (файл) | 88 Кб | Admin | MsUpload | 1 | |
| 20:47, 11 августа 2016 | Лодочные моторы Nissan Marine.jpg (файл) | 35 Кб | Admin | MsUpload | 1 | |
| 19:21, 11 августа 2016 | Лодочные моторы Mikatsu.jpg (файл) | 65 Кб | Admin | MsUpload | 1 | |
| 18:11, 11 августа 2016 | Лодочные моторы Honda.jpg (файл) | 72 Кб | Admin | MsUpload | 1 | |
| 12:46, 11 августа 2016 | Лодочные моторы TITAN Outboards.png (файл) | 21 Кб | Admin | MsUpload | 1 | |
| 11:55, 11 августа 2016 | Лодочные моторы Parsun.gif (файл) | 88 Кб | Admin | MsUpload | 1 | |
| 20:20, 10 августа 2016 | Лодочные моторы HDX.jpg (файл) | 43 Кб | Admin | MsUpload | 1 | |
| 19:02, 10 августа 2016 | Лодочные моторы Evinrude.jpeg (файл) | 149 Кб | Admin | MsUpload | 1 | |
| 13:30, 10 августа 2016 | Лодочные моторы Suzuki.jpg (файл) | 49 Кб | Admin | MsUpload | 1 | |
| 11:44, 10 августа 2016 | Лодочные моторы Mercury.jpg (файл) | 48 Кб | Admin | MsUpload | 1 | |
| 10:10, 10 августа 2016 | Лодочные моторы Yamaha.gif (файл) | 47 Кб | Admin | MsUpload | 1 | |
| 10:07, 10 августа 2016 | Расшифровка маркировки подвесных лодочных моторов Yamaha.jpg (файл) | 80 Кб | Admin | MsUpload | 1 | |
| 20:43, 9 августа 2016 | Лодочные моторы Golfstream.jpg (файл) | 76 Кб | Admin | MsUpload | 1 | |
| 11:00, 9 августа 2016 | Лодочные моторы Tohatsu.jpg (файл) | 71 Кб | Admin | MsUpload | 1 | |
| 13:10, 8 августа 2016 | Румпель.jpg (файл) | 22 Кб | Admin | MsUpload | 1 | |
| 11:56, 8 августа 2016 | Лодочные моторы.jpg (файл) | 53 Кб | Admin | MsUpload | 1 | |
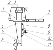
| 10:52, 8 августа 2016 | Схема устройства лодочного мотора.gif (файл) | 11 Кб | Admin | MsUpload | 1 | |
| 09:44, 5 августа 2016 | WATERSNAKE SXW 54.jpg (файл) | ![]() |
7 Кб | Admin | MsUpload | 1 |
| 09:44, 5 августа 2016 | Шмель F 1 6.jpg (файл) | 26 Кб | Admin | MsUpload | 1 | |
| 09:44, 5 августа 2016 | Парус Т40FWS.jpg (файл) | 90 Кб | Admin | MsUpload | 1 | |
| 09:44, 5 августа 2016 | Парус Т30FWS.jpg (файл) | 59 Кб | Admin | MsUpload | 1 | |
| 09:44, 5 августа 2016 | Парус Т30BMS.jpg (файл) | 60 Кб | Admin | MsUpload | 1 | |
| 09:44, 5 августа 2016 | Парус T40BMS.jpg (файл) | 28 Кб | Admin | MsUpload | 1 | |
| 09:44, 5 августа 2016 | Парус T30FHS.jpg (файл) | 60 Кб | Admin | MsUpload | 1 | |
| 09:44, 5 августа 2016 | Парус T9 8S.jpg (файл) | 46 Кб | Admin | MsUpload | 1 | |
| 09:44, 5 августа 2016 | Парус T8BMS2.jpg (файл) | 36 Кб | Admin | MsUpload | 1 | |
| 09:44, 5 августа 2016 | Парус T8BMS.jpg (файл) | 49 Кб | Admin | MsUpload | 1 |
